LITAI MACHINERY
Jul 22 2022
LITAI MACHINERY
What is an automatic plastic cup thermoforming machine? Well, this is a question everyone who is new to this industry would ask. Simply, this is a machine for manufacturing plastic cups. But there are other questions we might encounter. In this article, Litai, automatic plastic cup thermoforming machine supplier, would focus on questions of automatic plastic cup thermoforming machine, aiming to enable you to understand this machine clearly. Besides, automatic plastic cup thermoforming machine of Litai would be introduced at the end of this article, you could click here to turn to corresponding product page to be familiar with this machine. If you want to know more about details of shipping and after-sales service, contacting us directly is welcomed.
Automatic plastic cup thermoforming machine (also known as flat vulcanizing machine, rubber vulcanizing machine, small tablet press, automatic tablet press) is a kind of molding machine, suitable for polymers in the rubber and plastic industries such as PVC, masterbatch and other chemical raw materials It can be used as the basis for batching before mass production in the factory. The plastic or rubber raw material is placed in the mold, sandwiched between the upper and lower electric heating plates, and pressure is applied under the intelligent constant temperature of the electric heating plate to make the raw material shape.

The commonly used materials for plastic water cups are space glass and AS plastic. Space glass, also known as PC engineering plastics, is a widely used material around the world, and its main component is polycarbonate. Lightweight and durable, this material has excellent insulation, elongation, dimensional stability, chemical resistance, and high strength, heat and cold resistance. It also has the advantages of self-extinguishing, flame retardant, non-toxic, and colorable. The disadvantage is that it has insufficient hardness compared with metal, which makes its appearance easier to scratch.
AS plastic is a copolymer of acrylonitrile (A) and styrene (S). It has moderate weather resistance and is not affected by high humidity environments. It is resistant to general grease, detergents and mild alcohol. It has poor fatigue resistance and is not easy to It cracks due to internal stress, and the material has high transparency. It is often used to make plastic products such as trays, water cups, tableware, toothbrushes, instrument mirrors, and packaging boxes.
The injection molding of the automatic plastic cup thermoforming machine uses the thermophysical properties of the plastic to add the material from the hopper into the barrel, which is heated by a heating ring outside the barrel to melt the material. The material is gradually plasticized, melted and homogenized under the double action of screw shearing. When the screw rotates, the material will push the melted material to the head of the screw under the action of the friction force and shearing force of the falling groove.
At the same time, the screw retreats under the reaction of the material, so that the head of the screw forms a storage space and completes the plasticization process. Then, under the action of the injection cylinder piston, the screw injects the molten material in the storage chamber through the nozzle at high speed and high pressure. In the cavity of the mold, after the molten material in the cavity has been pressure-maintained, cooled, solidified and shaped, the mold opens the mold under the action of the clamping mechanism, and the shaped product is ejected from the mold through the ejector device.

This is the end of this article, more questions and corresponding answers would be listed in the next article.
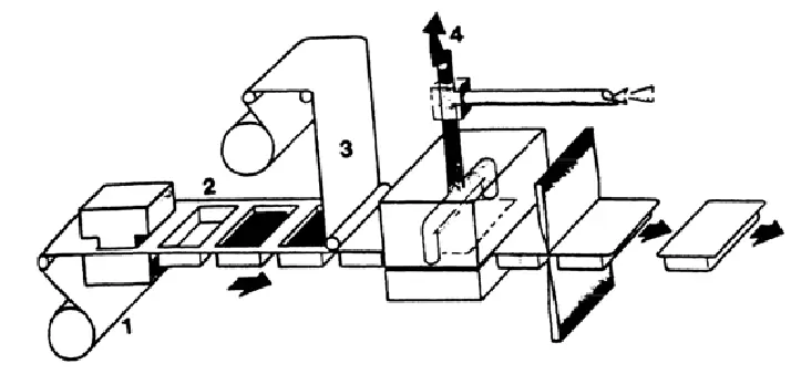
TTF series full-automatic thermoforming machine is our latest developed core product. The automatic plastic cup thermoforming machine combines forming, punching, cutting, and stacking into process. widely used and suitable for most of the customer requested, it can produce plastic trays, containers, boxes, lids, etc. The machine is completely driven by servo motor. stable operation, low noise, high efficiency, high quality.

Industrial manual interface and PLC of SIEMENS (Germany) make the high degree automation, accurate control and convenient operation. The document storage function simplifies the operational processes.
Working stations is driven by stable four guiding-pillars (GCr15 steel, outside is hard chrome plated) structure. Wear resistant, and extend equipment life.
Stretching servomotor of YASKAWA (Japan) controls the speed of the upper and lower die, this can maintain the uniform strength to ensure that the bottom thickness of each cup is uniformly. And the ser
Hydraulic driven system can provide adequately movement speed and strongly punching power.
The whole part is driven by hydraulic system, which is reliable and steady. Using proximity switch of ROCKWELL (USA) leads to excellent mould positioning precision.
The heater added vacuum insulation cotton, which shows quick response rate, short processing time, and save energy.
Sharp chain uses 65#Mn, which has higher strength, better heat resistance and elasticity than 45# steel.
The electric lubricating oil pump can automatically inject lubricating oil regularly and quantitatively through the control of computer under the condition of unmanned control, which can make the rota
Sheet feeding servo motor adopt YASKAWA brand, made in Japan, the rated power is 3Kw, ensure stable operation in the process of feeding.
LITAI MACHINERY CO, LTD is founded in 2001. For more than 20 years, our enterprise mission is to realize producing automatic plastic packaging machines. We focus on researching, developing, manufacturing and marketing four/three-station thermoforming machine, plastic cup thermoforming machine, BOPS plastic thermoforming machine, muti-ayer PP/PS/PET sheet extruder, mould, etc. We are the first manufacturer in domestic to produce plastic cup in one line with thermoforming, punching,Cutting,stacking, transmitting, counting and packing automatically.
